Caratteristiche
Guidebox è un contenitore per guida DIN (EN 60715) con morsetti integrati. La soluzione tecnica dei morsetti integrati permette di realizzare, mettendo a disposizione da 6 a 10 poli, dei prodotti di dimensioni particolarmente contenute in larghezza. A partire da 6,5 mm è infatti possibile realizzare, con la sola modifica del coperchio, anche le versioni 7,5 mm e 10 mm. La versione 6,5 mm è infine realizzabile anche con il pratico sportello laterale che permette l’agevole accesso a dei DIP switches o a dei potenziometri di configurazione. La facilità di aggancio delle schede, il montaggio del contenitore senza viti, le dimensioni estremamente ridotte e compatte ne fanno un contenitore pratico e facile da utilizzare. Per la disponibilità di più spessori e di una ampia gamma di accessori GUIDEBOX è un prodotto che ben incontra le diverse esigenze della clientela.
| Codice | 09.SD00150 |
| Descrizione | KIT CONTENITORE GUIDEBOX 15MM P20 |
| LInea | GUIDEBOX |
| EAN | 0043972420193 |
| Confezione n° pcs/kit | 100 |
| Minimo ordinabile (pcs) | - |
| Peso netto codice unitario (gr) | - |
| Peso della confezione (Kg) | - |
| Altezza confezione (mm) | - |
| Larghezza confezione (mm) | - |
| Profondità confezione (mm) | - |
| Volume confezione (m³) | - |
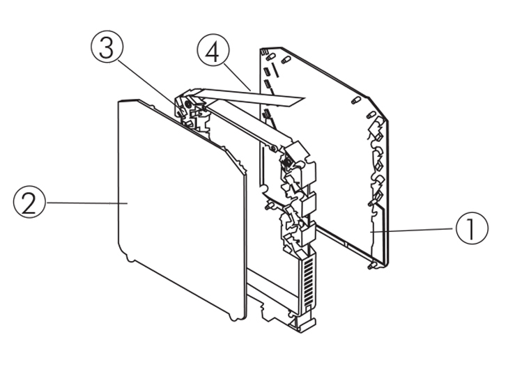
Esempio prodotto
- Descrizione e riferimenti materiali
- 1) Coperchio
- 2) Coperchio
- 3) Cintura
- 4) Sportello frontale trasparente
Disegni
Carrello 
CODICI ED IMBALLO