Embedded Box Raspberry Pi Compute Module
Contenitori per Raspberry Pi per guida DIN (EN 60715)
Caratteristiche
Contenitori per guida DIN EN 60715, adattati alle schede “embedded” più conosciute nel mercato. Stile professionale in accordo con un nuovo modo di interpretare l’elettronica.
Specifiche tecniche
| Materiale | Blend PC/ABS autoestinguente |
| Colore | Grigio, Colori speciali su richiesta |

Effettua il login o registrati per visualizzare il listino prezzi e gli altri servizi dedicati
Descrizione
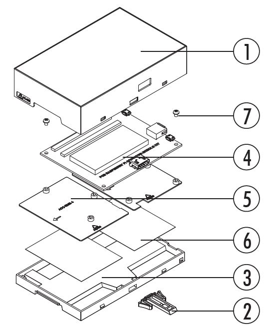
1) Corpo contenitore
2) Gancio
3) Base
4) PCB*
5) Accessorio per base Embedded
6) Adesivo per accessorio
7) Viti
* Non fornito nel kit
Disegni
Carrello 
Prodotti & Shop Online